Zum Hauptinhalt springen Zur Suche springen Zum Menü springen

Schneider Electric Träger

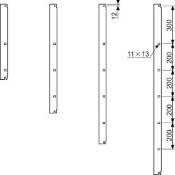
Schneider Electric Trägerf. Montage Platte o. 19-Rahmen H1000mm
58,40 €
inkl. 19% USt. , zzgl. Versand
Stk