- Dreifach verstellbare Dachhaken
- Dachhaken für geringe und hohe Belastungen
- Für alle gängigen Ziegel und minimale Ziegelbearbeitung
- Für unterschiedliche Dachlattenstärken
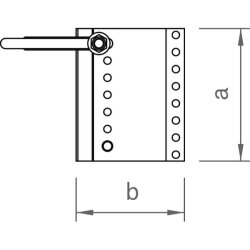
Maße in mm: a: 155 b: 126 c: 57-63
!! Für eBay Kunden: Sie erhalten den Artikel inkl. 19% MwSt.* * Bei Nachweis, dass es sich bei Ihnen nach § 12 ABS. 3 USTG um eine Privatperson (Betreiber der Photovoltaikanlage, ein begünstigtes Gebäude, sowie die installierte Bruttoleistung laut MAStR nicht mehr als 30 kW (peak) beträgt oder betragen wird.), erstatten wir Ihnen die MwSt. nachträglich. !!
Angaben zur Produktsicherheit
Herstellerinformationen:
novotegra GmbH
Eisenbahnstraße 150
Baden-Württemberg
Tübingen, Deutschland, 72072
info@novotegra.com
https://www.novotegra.com/de/
| Produkteigenschaft |
Wert |
| Inhalt: |
1,00 Stk
|
Es gibt noch keine Bewertungen.