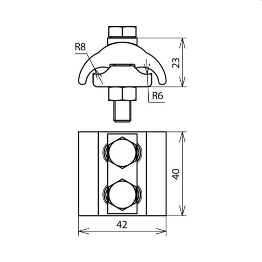
Parallelverbinder nach DIN EN 62561-1, zum Verbinden von zwei Seilen in Parallelanordnung. Ausfuehrung klein, fuer unterschiedliche Seildurchmesser mit zwei Schrauben.
Es gibt noch keine Bewertungen.
Bitte beachten Sie unsere Datenschutzerklärung