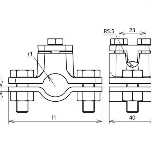
Erdungsrohrschelle Blitzschutz nach DIN EN 62561-1, zum Einbinden von Rohren in den Schutz und Funktionspotentialausgleich nach DIN VDE 0100-410/540 und den Blitzschutz-Potentialausgleich nach DIN EN 62305-3 (VDE 0185-305-3). Ausfuehrung mit Schrauben M10, Anschluss fuer Rd 4-10 mm oder Anschlussleiterquerschnitt max. 70 mm?.
Es gibt noch keine Bewertungen.
Bitte beachten Sie unsere Datenschutzerklärung